一、 用途
ZTFGT-A聚焦伽马探测器是一款专为方位地质导向应用设计的“屏蔽式”伽马探测器。采用钨合金材料加工而成的"探测窗",环绕包裹碘化钠晶体与光电倍增管。该窗口允许地层伽马射线未经衰减直接进入,窗口外的伽马射线被屏蔽,从而实现精准探测与计数。当与工具面或其他物理基准对齐时,配合扇区传感器,可准确指示伽马射线能量的来源方位。
二、 产品特色
l 高灵敏度
l 低噪声
l 抗振动和冲击
三、 技术指标
参数 | 规范值 |
光电倍增管型号 | Hamamatsu R3991A |
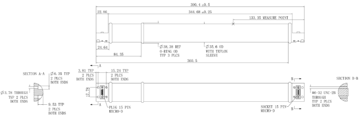
外径(无热管套) | 34.5mm |
长度 | 348mm |
重量 | 1400g |
连接方式 | 15芯微矩形连接器(MDM15) |
灵敏度 | 0.52 CPS/API |
精度(25°C至175°C) | ±10% |
工作温度范围 | -15°C至175°C |
存活温度范围 | -40°C至185°C |
最大温度变化速率 | 3°C/分钟 |
振动(3轴,50 - 1000Hz,随机) | 20G RMS |
冲击(3轴) | 1000G,0.5 ms,半正弦波 |
电源(直流输入电压) | 10 - 48 VDC |
功耗电流(输入电压28V) | 8-11mA |
输出信号 | 负脉冲,+5V至地,5 usec脉冲宽度 |
四、 外形尺寸

五、 产品图片

地址:中国青岛市高新区名园路11号
电话1:15753258592
电话2:15753258592(微信同号)
邮箱:sales@qdzitn.com
传真:0532-58717257
